15W Power Supply Circuits Sample


Sample of a 15W Power Supply Circuits Using TOPSWITCH


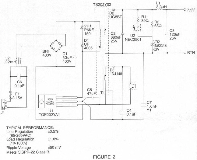
The following (Figure 2) is a schematic of an universal AC input, 7.5Vout, 15W power supply using the Power Integration's TOP202YAI chip. All the magnetic components such as the 22mH common mode choke ( L2), and the 3.3 uH outpout choke ( L1) and the main power transformer, TS202Y02 ( T1) are availabe from CWS.

This circuit demonstrates a very low cost implementation of a 15Watts power supply with optically coupled feedback control.


Schematic